-
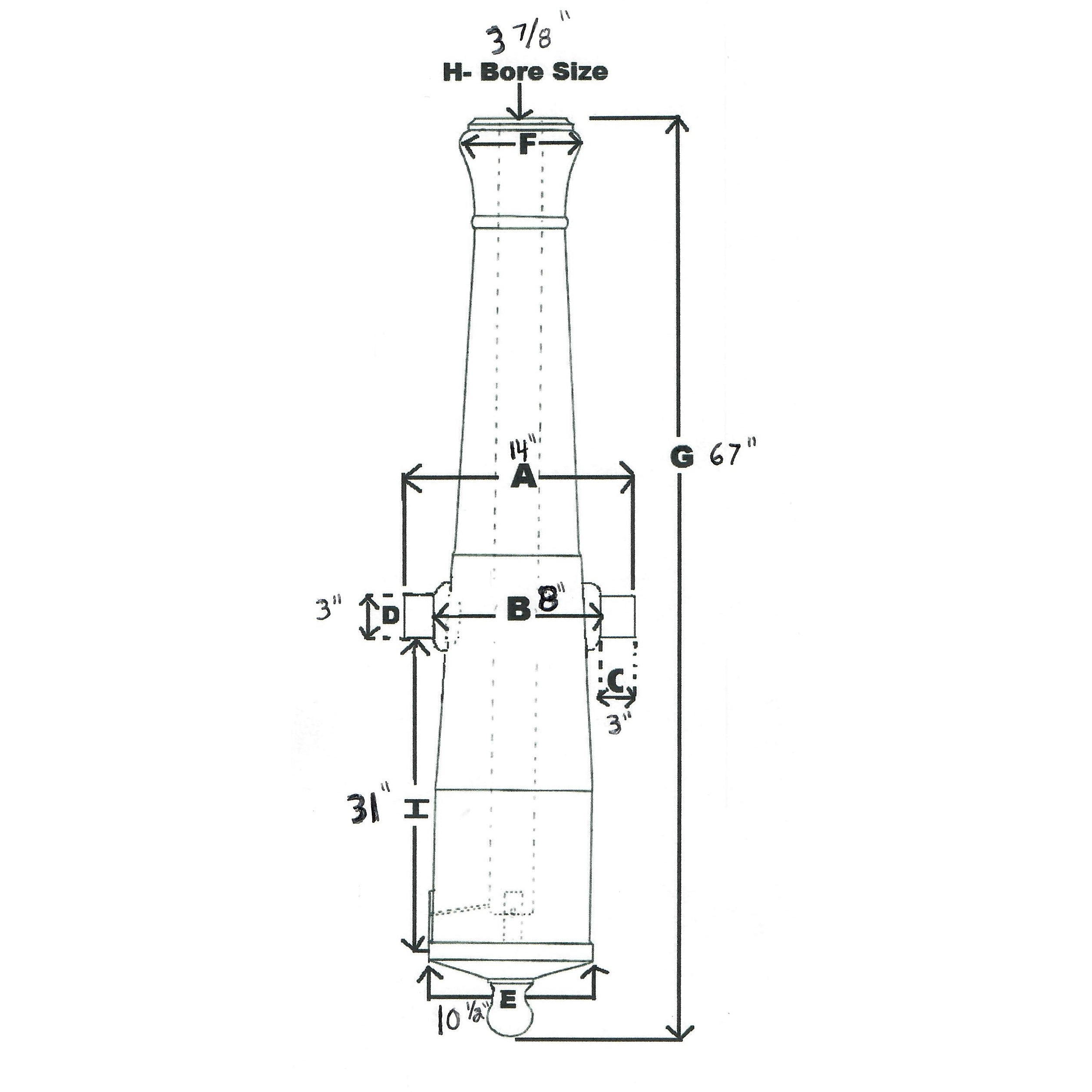
Original Item: This incredible historically signifigant bronze Hessian cannon has an overall tube length of approximately 67" including cascabel, is 10.5" across breeech at widest point, with a bore size of 3.875" making it "6 pounder". However, this tubve was originally designed as a 3-pounder which was rebored at some point into a 6-pounder caliber. Likely, the required German 3-pound shot calibre could not be resupplied, or the Continental army turned it into a 6-pounder after the gun had been captured at some stage during the American War of Independence. We won't ever know, but this time is an exact match to the drawings from the existing drafts from the former Hesse-Cassel Archives (see images). Find an interesting article regarding this tube at this link.
These guns were used extensively by the Hessian forces during the American Revolution. It is marked with the raised cypher of Frederick II Hesse-Kassel as well as an inscription between to rearmost muzzle bands where is it clearly dated 1768. During the America Revolutionary War Frederick hired out so many troops to his nephew, King George III of Great Britain, that "Hessian" has become an American term for all German soldiers deployed by the British in the War. The touch hole and bore of this cannon are clear and it was fired successfully for an episode of History Channel's Pawn Stars in 2022. You can watch the episode below:
The date of 1768 puts this cannon in the American War for Independence time period. However, we have no way of knowing if this cannon was brought to the colonies by the Hessian or if it remained in Germany. Regardless, this is exact model cannon was used by Hessian forces during the American Revolution.
Frederick II (German: Landgraf Friedrich II von Hessen-Kassel) (14 August 1720 – 31 October 1785) was Landgrave of Hesse-Kassel (or Hesse-Cassel) from 1760 to 1785. He ruled as an enlightened despot, and raised money by renting soldiers (called "Hessians") to Great Britain to help fight the American Revolutionary War. He combined Enlightenment ideas with Christian values, cameralist plans for central control of the economy, and a militaristic approach toward international diplomacy.
During the 17th and 18th centuries, it was a fairly widespread practice for smaller principalities to rent out troops to other princes. However, the practice was carried to excess in Hesse-Kassel, which maintained 7% of its entire population under arms throughout the eighteenth century. Frederick hired out so many troops to his nephew, King George III of Great Britain, for use in the American War of Independence, that "Hessian" has become an American term for all German soldiers deployed by the British in the War. Frederick used the revenue to finance his patronage of the arts and his opulent lifestyle. The architect Simon Louis du Ry transformed for Frederick II the town of Kassel into a modern capital.
Washington attacked the Hessian military base (belonging to hired German soldiers who fought for the British) in Trenton, New Jersey, Christmas Day 1776, inspiring new hope for the cause of the Patriot Army. Provisions were low, as was morale, during this period. Washington feared more troubles were ahead for the Continental Army. As losses mounted for the Americans, it became more difficult to recruit and retain soldiers, with many choosing to desert rather than face a cold winter of battle with limited supplies.
Washington understood the importance of a much-needed victory before the year let out, and a concentration of around 1,300–1,500 hired Hessians at Trenton became his target. Washington and his men (around 2,400, including future president James Monroe) were part of a larger plan that included two other crossings, but only his was successful in reaching the Hessians. Still, they arrived in Trenton with plenty of artillery and support from Col. Henry Knox, who would be stationed with men at the top of the town. Sailing on cargo vessels that ranged from 12 to 18 meters (40 to 60 feet) in length across the frigid icy waters of the Delaware, Washington and his soldiers were hit with a harsh rain that turned to a snow-sleet mix by midnight. Traveling with heavy artillery, horses, and more men behind him, Washington had support from experienced seamen under the command of Col. John Glover at the crossing site.
This is quite the contrast from the image portrayed by Leutze’s painting. Washington’s boat was much larger than is painted; the men in the painting’s ship represent a diverse group of 12 soldiers; and the flag in the image was not actually designed until after the event took place. Leutze’s work was more of a representation of what the event, and Washington, specifically, symbolized. (Although Leutze tried to be accurate, he also hoped to inspire a greater purpose). Even with these deviations from the facts, his portrait has become intermixed with the history of the moment itself, making it difficult for some to separate reality from folklore.
The Hessians were somewhat aware an attack was coming, thanks to the work of British spies and American deserters. Although they did not fully expect Washington to attack, they were on alert that it was at least possible. Constant false alarms coupled with bad weather conditions gave Washington the surprise opening he and his men needed to launch a successful attack, even if it took more time than anticipated. Once the Continental Army arrived onshore, their execution was excellent. The Hessians surrendered before morning and the Americans sustained few casualties. Stories of this bold, overwhelming American victory grew in legend as it reached other colonists who supported rebellion against the British crown.
The Hessians at Trenton were a brigade in strength commanded by Colonel Johann Rall. His command consisted of troops from three Regiments, each named after their commanding officer; Von Lossburg, Rall, and Knyphausen. Assigned to Rall’s Brigade were six Hessian Artillery pieces, a battery of two guns for each regiment. Hessian Artillery was much heavier than their American and British counterparts, in some cases weighing approximately twice or three times heavier. This proved to be a hindrance to the crews, as the guns needed double the amount of horses to move the cannons, and were incredibly difficult to move by hand (which most crews did). Add in the mud of roads in New Jersey during the winter of 1776-1777 and you have Hessian artillery crews in a difficult position, especially in a relative urban environment, where they needed to maneuver quickly.
Two of the Hessian batteries, under Lieutenant’s Frederich Fischer and Johann Englehardt moved to engage the Americans as they attacked. However, the Americans not only had the element of surprise, but also numerical superiority with Artillery, to their advantage. The Americans, fielded twenty-four artillery pieces during the battle, outnumbering the Hessians cannons four to one. Englehardt’s battery was at an obvious disadvantage; facing five American guns (two of which were commanded by Alexander Hamilton) firing onto their position, and American Infantry advancing upon them in two different directions on their flanks, Englehart fired one last volley of canister at the Infantry and ordered his gunners to abandon their guns in a last ditch effort to preserve his command.
After routing the Hessians from the battlefield, the Americans captured 896 Hessians, countless muskets and rounds of ammunition, six horses, and six cannons. The Americans suffered no casualties, only five wounded, with the most serious injury being one sustained by future President James Monroe to the shoulder. The Continentals gathered their exhausted troops, captured cannons, muskets, ammunition and prisoners, and crossed the Delaware to the safety of their lines in Pennsylvania.
This incredible historically significant cannon is currently mounted on a newly built wood fortress style mount which is incredibly sturdy and displays the tube beautifully. For more detailed dimensions please see the scanned sheet at the end of the product images. Weight is approximately 1200 Lbs.
Curbside truck freight is included with purchase for locations within the US 48 states. For all other locations please contact us for an accurate freight quote prior to purchase.
- This product is not available for international shipping.
- Not eligible for payment with Paypal or Amazon
Totally inert, cannot be converted to an explosive device, not available for export. This item is completely legal within the USA. International Military Antiques, Inc observes all Federal, State and Local laws. Everything for sale on ima-usa.com is completely legal to own, trade, transport and sell within the United States of America.
All deactivated ordnance sold by IMA, Inc is engineered to be inoperable according to guidelines provided by the US Bureau of Alcohol, Tobacco, Firearms and Explosives (BATF).
We Buy Military Antiques
Our team expert buyers travels the world to pay fair prices for entire estate collections to singular items.
START SELLING TODAY
